相关题目
单选题
14284.油雾器一般安装在分水滤气器,减压阀之后,尽量靠近换向阀,与阀的距离不应超过( )。
单选题
14283.油箱底离地面至少应在( )以上。
单选题
14282.流量阀有节流阀、调速阀和分流阀等,下图属于( )。
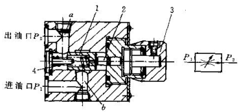
单选题
14281.下图属于( )。
单选题
14280.单向阀阀芯通常采用( )钢球或锥形圆柱。
单选题
14279.静止液体内任一点的压力为一定值,与方向( )。
单选题
14278.液压油的选择与具体使用条件有关:周围环境温度高,应采用( )粘度的矿物油。
单选题
14277.主轴转速n[r/min]与切削速度v[m/min]的关系表达式是( )。
单选题
14276.循环G81、G85的区别是:G81和G85分别以( )返回。
单选题
14275.在插补功能中不能进行编程的是( )。
