9.《民法典》是全面依法治国的重要制度载体,对公安机关的职责作了相关规定。下列情形中,属于公安机关履行《民法典》规定的职责有:()(2024年多省联考)
答案解析
解析:
相关知识点:
公安机关民法典职责要知
相关题目
15.(四)根据以下情境材料,回答第12~15题。某市风凰街派出所地处城市中心区,辖区面积9平方千米,实有人口4.2万人,属于全区政治、经济、商贸、文化的核心区域,治安状况较为复杂。为提高平安社区评价指数,提升人民群众安全感和获得感,派出所定期收集辖区警情数据,制作风压街派出所巡区情况分析相关图表,进行综合分析研判。(2021年多省联考)
某日,110指挥中心接群众报警:在学前路中段学校东南角,有人驾驶车辆冲撞人群。接警后,110指挥中心迅速调集警力赶赴现场。民警到达现场后,发现嫌疑车辆因撞上路边花坛导致车辆故障无法继续行驶,车内嫌疑人拒绝下车。下列民警采取处置措施中不恰当的是:()(单选)
14.(四)根据以下情境材料,回答第12~15题。某市风凰街派出所地处城市中心区,辖区面积9平方千米,实有人口4.2万人,属于全区政治、经济、商贸、文化的核心区域,治安状况较为复杂。为提高平安社区评价指数,提升人民群众安全感和获得感,派出所定期收集辖区警情数据,制作风压街派出所巡区情况分析相关图表,进行综合分析研判。(2021年多省联考)
某日,派出所民警接到群众报警:街心公园东侧酒店门口(标注为⑤处,见图一)发生一起伤害案件。民警迅速到达现场,经初步了解:晚上9时许,马某明在酒店饮酒后驾车驶离停车场,因收费问题与门卫刘某发生口角,将刘某推倒在地致其受伤。针对这种情况,下列民警处置措施恰当的有: ( )(多选)
13.(四)根据以下情境材料,回答第12~15题。某市风凰街派出所地处城市中心区,辖区面积9平方千米,实有人口4.2万人,属于全区政治、经济、商贸、文化的核心区域,治安状况较为复杂。为提高平安社区评价指数,提升人民群众安全感和获得感,派出所定期收集辖区警情数据,制作风压街派出所巡区情况分析相关图表,进行综合分析研判。(2021年多省联考)
民警老王、小姜和小蔡正在标注为④的案发地巡逻,突然接到110指挥中心指令:在标注为⑥的案发地有一男子抢夺行人挎包,有人受伤,抢夺者沿文化街向北逃跑,请迅速前往处置。下列民警做法妥当的是:()(单选)
12.(四)根据以下情境材料,回答第12~15题。某市风凰街派出所地处城市中心区,辖区面积9平方千米,实有人口4.2万人,属于全区政治、经济、商贸、文化的核心区域,治安状况较为复杂。为提高平安社区评价指数,提升人民群众安全感和获得感,派出所定期收集辖区警情数据,制作风压街派出所巡区情况分析相关图表,进行综合分析研判。(2021年多省联考)
结合巡逻路线图(见图一)和某日巡区案发情况表(见表一),派出所决定调整巡防工作方案。现派出所有5名警力可以调用,以下布局合理的是:()(单选)
11.(三)根据以下情境材料,回答第9~11题。在某地银行门口停着一台黄色出租车,车上下来两名男子,此时正好市公安局的3人组巡逻警车同向行驶路过。两名男子看到警车后又迅速上车,这一反常的举动被巡逻警察注意到。于是民警将警车停在出租车前方30米处靠边,准备对出租车进行检查。(改编自2018年公安联考)当警察接近嫌疑车辆时,车辆突然启动加速逃离,对此警察应当采取的合理处置措施有;()(多选,改编)
10.(三)根据以下情境材料,回答第9~11题。在某地银行门口停着一台黄色出租车,车上下来两名男子,此时正好市公安局的3人组巡逻警车同向行驶路过。两名男子看到警车后又迅速上车,这一反常的举动被巡逻警察注意到。于是民警将警车停在出租车前方30米处靠边,准备对出租车进行检查。(改编自2018年公安联考)民警对嫌疑车辆和人员进行检查,有四项检查,分别是:①人身检查;②证件检查;③随身携带物品检查:④车辆检查。以下检查顺序正确的是:()(单选)
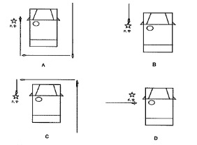
9.(三)根据以下情境材料,回答第9~11题。在某地银行门口停着一台黄色出租车,车上下来两名男子,此时正好市公安局的3人组巡逻警车同向行驶路过。两名男子看到警车后又迅速上车,这一反常的举动被巡逻警察注意到。于是民警将警车停在出租车前方30米处靠边,准备对出租车进行检查。(改编自2018年公安联考)当民警准备靠近车辆进行检查时,其靠近车辆路线正确的是:()(单选)
8.(二)根据以下情境材料,回答第5~8题。甲、乙两省行政区域相邻,为提高社会治安整体防控能力,维护社会治安稳定,建立了区域警务协作关系。近期,甲省要举办一场重要的国际会议,为提升甲省的社会面防控能力,保证会议的正常进行,乙省公安机关经有关部门批准,在甲、乙两省公路交界处设置了一个公安检查站,实施一级防控检查,对过往车辆及人员逐一进行检查,防止可疑人员和危险物品进入甲省。(2018年公安联考)驾驶员李某对民警示意其打开后备厢接受检查的行为十分不满,情绪激动,拉扯民警衣服,向民警脸上吐口水。对此情形,民警处置不恰当的做法是:()(单选)
7.(二)根据以下情境材料,回答第5~8题。甲、乙两省行政区域相邻,为提高社会治安整体防控能力,维护社会治安稳定,建立了区域警务协作关系。近期,甲省要举办一场重要的国际会议,为提升甲省的社会面防控能力,保证会议的正常进行,乙省公安机关经有关部门批准,在甲、乙两省公路交界处设置了一个公安检查站,实施一级防控检查,对过往车辆及人员逐一进行检查,防止可疑人员和危险物品进入甲省。(2018年公安联考)在盘查过程中,发现某车辆有疑似爆炸装置,首先应采取的措施是:()(单选)
6.(二)根据以下情境材料,回答第5~8题。甲、乙两省行政区域相邻,为提高社会治安整体防控能力,维护社会治安稳定,建立了区域警务协作关系。近期,甲省要举办一场重要的国际会议,为提升甲省的社会面防控能力,保证会议的正常进行,乙省公安机关经有关部门批准,在甲、乙两省公路交界处设置了一个公安检查站,实施一级防控检查,对过往车辆及人员逐一进行检查,防止可疑人员和危险物品进入甲省。(2018年公安联考)下列关于检查的做法,合理的有:()(多选)
