相关题目
单选题
14、何谓换向阀的“位”和“通”?并举例说明。
单选题
13、什么是液体的粘性?常用的粘度方法表示有哪几种?如何定义?
单选题
12、试举例绘图说明溢流阀在系统中的不同用处:(1)溢流恒压;(2)安全限压;(3)远程调压;(4)造成背压;(5)使系统卸荷。
单选题
11、什么是容积式液压泵?液压泵完成吸油和压油必须具备什么条件?
单选题
10、什么是泵的排量、流量?什么是泵的容积效率、机械效率?
单选题
9、液压传动系统主要有那几部分组成?
单选题
8、溢流阀的主要作用有哪些?
单选题
7、容积式液压泵完成吸油和压油必须具备哪三个条件?
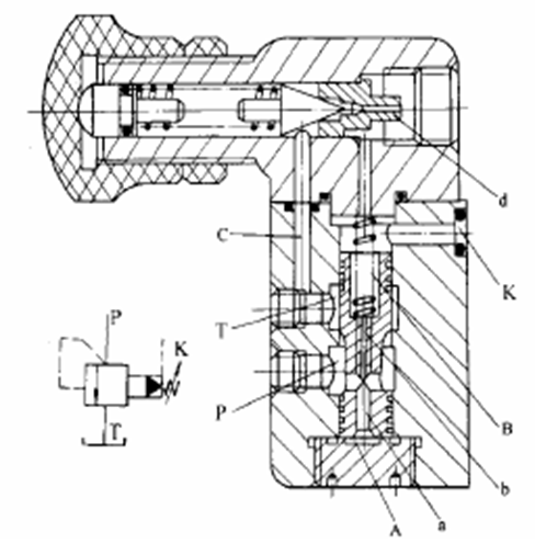
单选题
6、先导式溢流阀原理如图所示,回答下列问题:(1)先导式溢流阀原理由哪两部分组成?(2)何处为调压部分?(3)阻尼孔的作用是什么?(4)主阀弹簧为什么可较软?(5)先导式溢流阀的远程控制油口分别接入油箱或另一远程调压阀时,会出现什么现象?
单选题
5、液压系统中,当工件部件停止运动后,使泵卸荷有什么好处?试画出一种典型的卸荷回路。
