相关题目
单选题
1、内半导体( )
单选题
8、分闸弹簧( )
单选题
4、结构性粘接剂( )
单选题
3、结构性泡沫( )
单选题
2、结构梁( )
单选题
1、腹板( )
单选题
22、根据下图,描述叶片弦长和扭角的关系,
单选题
21、下图是某地的风玫瑰图,请描述两张图代表的含义,以及该地主风向风况,并说明原因。
单选题
20、下图为叶片截面,根据风向画出叶片力的分解,并描述力的原因。
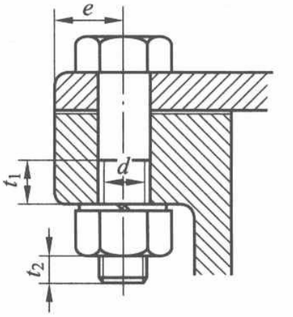
单选题
19、下图螺栓用于通孔连接,d 为螺栓直径,t1为螺纹预留长度,t2为螺纹伸出长度,请描述在各种载荷下,d与t1、t2的尺寸关系。
静载荷:t1≥( )d( )变载荷:t1≥0.75d( )冲击载荷:t1≥d( )t2≈( )d( )
