相关题目
单选题
22、(0.25分)【单选题】根据柴油机的基本工作原理,下列定义最准确。
单选题
21、(0.25分)【单选题】作为船舶主推进装置,在功率相同情况下,重量最轻的是。
单选题
20、(0.25分)【单选题】密封环断面形状中,间隙可变促进磨合,防止烧结,允许环槽温度较高但加工精度要求较高的活塞环是。
单选题
19、(0.25分)【单选题】活塞环内表面刻痕的目的是。
单选题
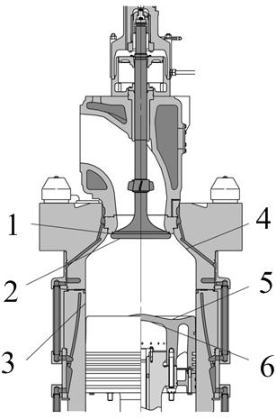
18、(0.25分)【单选题】
如图所示,其中热负荷最低的位置在。
单选题
17、(0.25分)【单选题】下列柴油机燃烧室部件触火面工作温度最高的是。
单选题
16、(0.25分)【单选题】大功率中速柴油机的活塞采用的冷却方式有。I.套管式;II.喷射式;III.振荡冷却式;IV.腔室冷却式;V.蛇管冷却式;VI.铰链式
单选题
15、(0.25分)【单选题】在柴油机中对外作功的工质是。
单选题
14、(0.25分)【单选题】
图中15中有两组环,下面一组为。
单选题
13、(0.25分)【单选题】活塞杆填料函内的若干组工作环的主要作用是。
