相关题目
单选题
236、(0.25分)【单选题】某些套管式活塞冷却机构中设有空气室,其作用是。
单选题
235、(0.25分)【单选题】活塞杆填料函的基本结构由两组填料函组成,其中。
单选题
234、(0.25分)【单选题】活塞裙部的承磨环的主要作用是。
单选题
233、(0.25分)【单选题】采用短连杆结构,其主要目的是。①降低柴油机高度;②增加柴油机高度;③增加成本;④减少成本;⑤减少震动;⑥增加震动;⑦增加机器重量;⑧减少机器重量
单选题
232、(0.25分)【单选题】内燃机是热机的一种,它是。
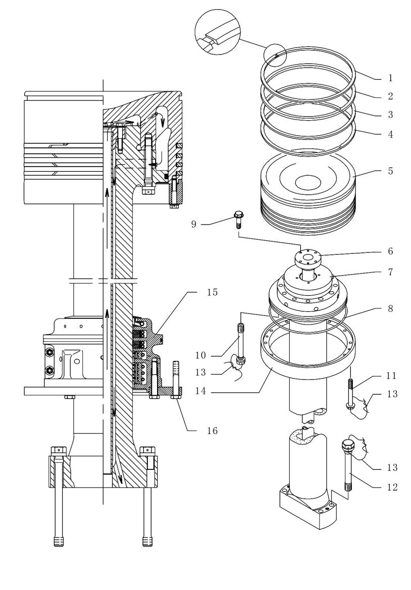
单选题
231、(0.25分)【单选题】
如图所示,图中活塞杆填料箱是。
单选题
230、(0.25分)【单选题】低速柴油机的活塞平均速度Vm一般为。
单选题
229、(0.25分)【单选题】下列影响活塞环弹力的是。
单选题
228、(0.25分)【单选题】进、排气阀不在上、下止点位置关闭,其目的是为了。
单选题
227、(0.25分)【单选题】四冲程柴油机活塞最下面一道环都是刮油环,其外边缘如一边是斜面,则安装时斜面应该以便活塞。
