相关题目
单选题
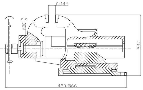
图示装配图中的尺寸Φ30H9/F9属于()。
单选题
()是斜齿圆柱齿轮。
单选题
WHILE…;…;ENDW;是()(华中系统)。
单选题
GOTOFMARKE1;…;MARKE1:…;是()(SIEMENS系统)。
单选题
在运算指令中,形式为#i=INT[#j]的函数表示的意义是()(华中系统)。
单选题
程序段CYCLE81【RTP,RFP,SDIS,DP,DPR】中,”SDIS”表示的是()(SIEMENS系统)。
单选题
程序段G81X_Y_Z_R_F_L_;中,”L_”表示的是()(华中系统)。
单选题
华中系统中,G68指令段中P参数表示()(华中系统)。
单选题
已知两圆的方程,需联立两圆的方程求两圆交点,如果判别式(),则说明两圆弧没有交点。
单选题
在变量赋值方法Ⅱ中,自变量地址I6对应的变量是()(FANUC系统)。
