相关题目
单选题
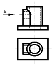
199.对应下列主、俯视图,正确的局部视图应为()。
单选题
198.在轴的主视图中,通孔处标注了A-A剖面图的剖切符号,下列图中为正确的A-A剖面图的是()。
单选题
197.离心机润滑油温度过高时,下列处理错误的是()。
单选题
196.下列选项中,会导致离心机润滑油温度上升的是()。
单选题
195.下列选项中,会造成重整反应总温降下降的是()。
单选题
194.下列选项中,不会造成重整反应总温降下降的是()。
单选题
193.进料带水引起分馏塔冲塔时,下列处理错误的是()。
单选题
192.炉管烧焦是否干净可以从冷却废水的颜色判断,如呈(),说明已烧干净。
单选题
191.加热炉管烧焦过程中炉管呈桃红色时,下列处理正确的是()。
单选题
190.加热炉烧焦正常时,炉管呈()。
