相关题目
单选题
22、电容器的基本结构由是由( )和( )两大部分组成。
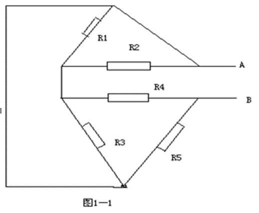
单选题
21、在图1-1中,有( )个节点、( )条支路、( )个回路和( )个网孔。
单选题
20、电场力做功与所经过的( )无关。参考点确定之后,电场中各点电位之值便唯一确定,这就是电位( )原理。
单选题
19、在电阻并联电路中,各电阻两端的( )相等,而各电阻中的( )和( )分配则与电阻值成反比。
单选题
18、在电阻串联电路中,流过各电阻的( )相等,而各电阻的( )和( )的分配则与电阻值成正比。
单选题
17、电动势的方向规定:在电源( ),由( )指向( )。
单选题
16、电动势是用来衡量电源( )的物理量。
单选题
15、电路通常有( )、( )和( )三种状态。
单选题
14、最基本的电路由( )、( )和( )三个部分组成。
单选题
13、在一个闭合回路中,电源的端电压应该等于电源( )与( )之差。
