相关题目
单选题
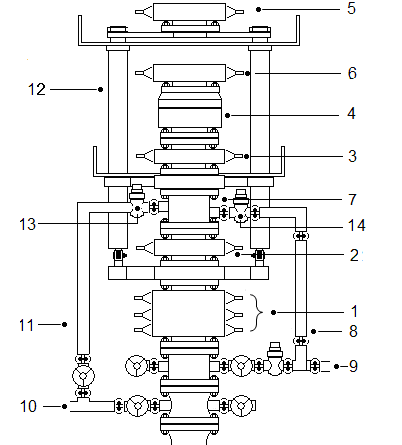
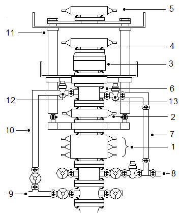
3. [JXJK181-03-X] 手动闸板防喷器基本结构大体相同,由( )、壳体、手控总成及密封装置、侧门等组成。
单选题
2. [JXJK181-03-X] 手动闸板防喷器根据所配置的闸板数量可分为( )。
单选题
1. [JXJK181-03-X] 通常手动闸板防喷器的连接方式( )。
单选题
6. [JXJK181-01-X] 手动防喷器的缺点是开关手动操作,速度慢,( )。
单选题
5. [JXJK181-01-X] 型号为SFZ18-35防喷器,最大工作压力为( )。
单选题
4. [JXJK181-01-X] 型号为SFZ18-21防喷器,其中SFZ表示( )。
单选题
3. [JXJK181-01-X] 手动防喷器具有结构简单、( )、安装使用方便的特点。
单选题
2. [JXJK181-01-X] 手动闸板防喷器要有( )处密封。
单选题
1. [JXJK181-01-X] 更换手动单闸板防喷器闸板时,应首先( )。
单选题
20. [JXJK172-02-X] 液压防喷器的公称通径应与钻头的尺寸相匹配,以确保通过相应钻头与钻具,进行钻井作业。




