扫码进入小程序随时随地练习
16.更换室内消火栓的操作步骤中,第一步是()。
15.绑扎消防水带的操作步骤中,第一步是()。
14.更换消火栓按钮的操作步骤中,最后一步是()。
13.更换消火栓按钮的操作步骤中,第二步是()。
12.消火栓按钮启动后不启泵的原因不包括()。
11.室内消火栓开启后本体渗漏原因不包括()。
10.室内消火栓关闭时本体渗漏原因不包括(.)。
9.室内消火栓系统的给水管网振动大,发出异响、噪声原因不包括()。
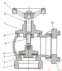
8.下图标号”9”为室内消火栓的()。
7.下图中标号”7”为()。
为了提高加载速度和练习体验,每3000道题目分为一段,请选择您要练习的分段:
请选择您要练习的章节,系统将加载该章节下的所有题目:
请设置各类题型的数量和分值,系统将随机抽取题目生成试卷:
提示:非会员最多300题,会员最多1000题
以下是您的考试记录,点击可查看详情: